01.January.2014
New Year 2014
The OntomaX team wishs our friends, supporters and fans a happy new year.
*** Copy mode ***
Ontonics Website update 6:56 CET
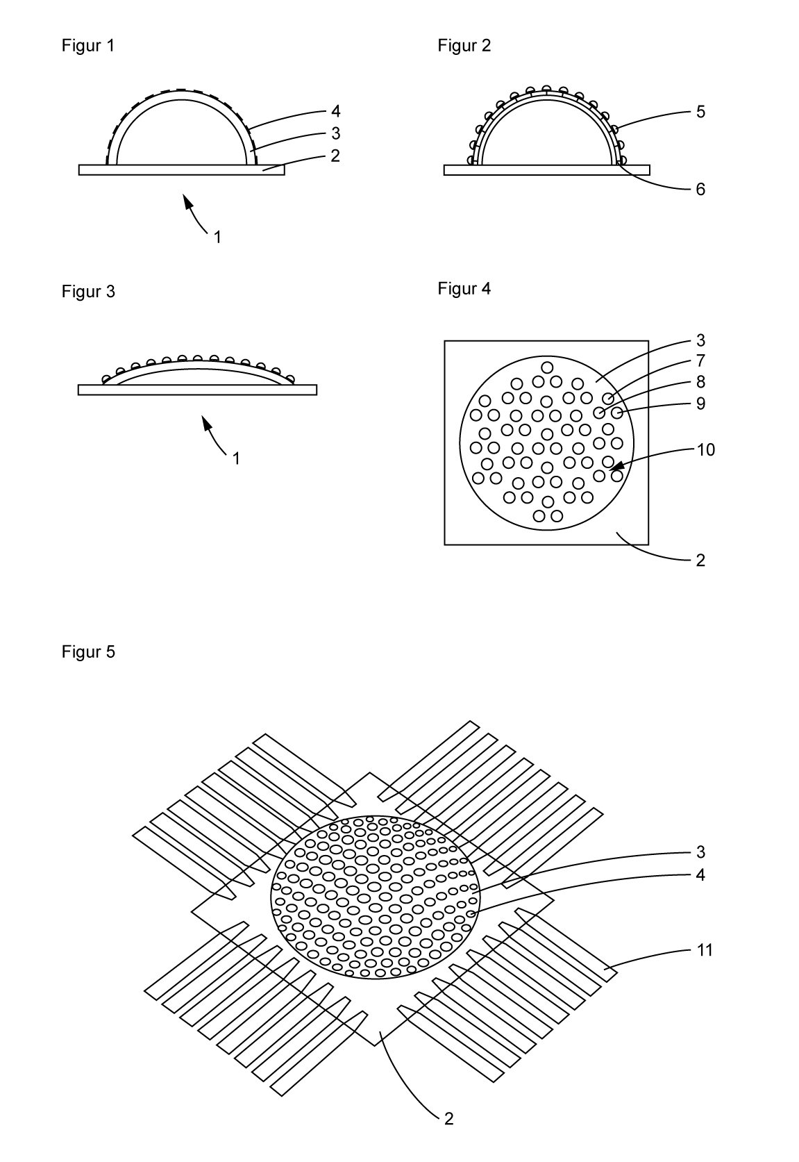
Because it makes the description of our Directional Light-Emitter, which was already publicated with the Ontonics Website update of the 15th of December 2013, easier to understand, we would like to show some figures of it.
As examples, the figures 1 to 5 below show different variants of a Directional Light-Emitter (1) as cutaway, top, and perspective view.
The figure 1 shows the conceptual construction of a Directional Light-Emitter (1) with substrate (2), spherical shape (3), and light-emitting component parts (4).
In addition, the figure 2 shows nanolenses/-lenslets (5) on each single light-emitting component part (4) and the layer of the control electronics (6).
The figure 3 simply shows a flatter variant of a Directional Light-Emitter (1) with nanolenses/-lenslets (5) to make clear that the shape must not be a hemisphere.
In figure 4 a special variant of a Directional Light-Emitter is shown with substrate (2), spherical shape (3), and red (7), blue (8), and green (9) light-emitting component subparts respectively directional subpixels, which are grouped as one component part (10) respectively directional pixel. The component parts/directional pixels (10) are arranged in a facetted way on the spherical shape (3) resp- ectively display pixel.
The figure 5 is a perspective view on a Directional Light-Emitter with connections (11) to the control electronics.
© Ontonics
Ontonics Further steps
We developed a specific component further, which has now all need- ed qualities. What a true game changer in its technology sector.
03.January.2014
OntoLix and OntoLinux Further steps
We took a deeper look at the semantic desktop feature of the KDE Software Compilation (KDE SC) and what we saw is simply said only disastrous. Besides the political issues related with its funding by the European Comission and the acting of the project participants to block us and seize our intellectual properties by spying, copying, stealing, and so on at that time, as well as the usual sentimental issues with the actual developers and supporters, the complete software stack is full of issues from the top to the bottom, from the requirement specification of the design over the implementation like the threading model to the application of the underlying so-called universal data store. This goes on with the connections to respect- ively integrations of the annotation, indexing, interferencing, retriev- al, and storage layers for the file management and Personal Inform- ation Management (PIM) systems of the KDE SC and a framework for logging the users's activities and events for example.
Even more worse, the original author, maintainer, and only main dev- eloper of the semantic desktop has given up and left the project already in March of 2012, though this does not solve anything due to the fact that since then he is messing around at the data store layer, while initiating entities have also no interest or/and financial problems and the interested companies are lurking around our intell- ectual properties only on the one hand and on the other hand the interested entities are not solving the many problems in favor of copying our website contents and concepts of our Ontologic System Architecture (OSA) for messing around in the fields of Linked Open Data (LOD), Natural Language Processing (NLP), Multilingual Multimodal Multimedia (M³) systems, and recommender systems on top of components of the semantic desktop software stack (see also the Investigations::Multimedia of the 25th of October 2012 and our Investigations::Multimedia, AI and Knowledge management Linked Open Data (LOD) Special). Etc., etc., etc. ...
Hence, it is no wonder at all that virtually nobody is using the sem- antic desktop feature of the KDE SC and others are wishing that the KDE SC becomes a common desktop environment again. This situat- ion has not changed despite a few of the major basic problems have been improved a little, for example with the indexing and interferenc- ing, but that is not enough by far.
Roboticle, OntoLix and OntoLinux Further steps
We took a deeper look at research projects in the fields of robotics and cognitive agents and what we saw is simply said disastrous only. Besides the political issues related with their fundings by the Euro- pean Comission and the actings of the participating project members to block us and seize our intellectual properties by spying, copying, and stealing, as well as the usual sentimental issues with the actual developers and supporters, the complete software and hardware stasks are full of issues from the top to the bottom, from the re- quirement specifications of the designs over the implementations of specific solutions, so to say, to the applications. Etc., etc., etc. ...
Style of Speed Further steps
Since quite some time we are looking at the alternative to make our Cx conversion series of the model Cayman by the marque Volkswa- gen→Porsche a model series of its own. The same is considered with other conversions as well.
07.January.2014
Comment of the Day
Thermoplastic display
Ontonics Website update 17:00 CET
We are pleased to present to our beloved readers and the whole public the specific variant of our relatively new Electronic Polymer with the:
Transparent Thermoplastic Display.
The Transparent Thermoplastic Display has as the substrate/support material a thermoplastic polymer with an index of refraction of 1.4 to 1.6, a tensile modulus of elasticity of 2300 to 3200 N/mm², and a tensile strength of 60 to 75 N/mn². This specification includes mat- erials, like for example PolyMethyl MethAcrylate (PMMA), better known as acrylic glass, Plexiglas®, Acreylite®, and Lucite, as well as PolyCarbonate (PC), aka. Lexan®, Makrolon®, and Makroclear. The imaging layer can be based on the technologies of the Liquid Crystal Display (LCD), Thin Film Transistor Liquid Crystal Display (TFT-LCD), Light-Emitting Diode (LED), inclusive Organic LED, Quantum dot based LED (QLED), and laserdiode, electronic paper (e-paper), and Active Interferometric Modulator Display (AIMOD), while special variants can even have a control electronics based on graphene as well. Furthermore, the device can be a laminate, inte- grate an additional source or/and drain for electromagnetic rays, as well as a touchsensitive or/and touchless sensor, and also feature a scratch-resistant coating. One of the advantages of the Thermo- plastic Display is that it is an optimal display for smart eyewear, because on the one hand the e-paper and the flexible OLED display are too sloppy floppy, while on the other hand glass always breaks and splinters under an applied force in the end or otherwise as a lamin- ated safety glass is too weighty.
Ontonics Further steps
We developed a multimedia device further. Some entities will be very surprised by our next true game changer.
09.January.2014
Ontonics Further steps
We integrated two components and developed one component further.
We also worked on a hardware architecture just for fun.
Style of Speed Website update
Based on our original SuperVeloce GranTurismo design concept for the model Huracán by the marque Volkswagen→Audi→Lamborghini already presented with the Further steps of the 30th of November 2013, we are very pleased to present our second conversion of the Huracán GranTurismo after the Huracán SuperVeloce.
10.January.2014
Comment of the Day
My cloud is my castle
Style of Speed Further steps
We are very pleased to present the first sketches of the front of our SuperVeloce conversion of the model Huracán by the marque Volks- wagen→ Audi→Lamborghini that is based on the design language by the factory.

© Lamborghini, :I, and Style of Speed
For sure, the doodles are very dirty, but what really counts is the concept. As we said before, we will do it harder. So wait for more, because for true enthusiasts it is worth all the time.
Style and Speed Matters
11.January.2014
Comment of the Day
We love game changer
Ontonics and OntoLab Further steps
We are very pleased to present our new mobile multicore architect- ure with up to 1024 high-performance and energy-efficient proc- essor cores configured to our high-performance computing systems. What makes our mobile multicore architecture so special in compar- ison to other solutions is the fact that it is not based on a simple pool of Graphics Processing Units (GPUs) only. For sure, GPUs can be used as Accelerated Processing Units (APUs) as well and used for high-performance computing on the one hand, but due to the way of construction they do not and they can not deliver the right features at the right time for our next generation applications on the other hand in stark contrast to our new mobile multicore architecture specific- ally desigend for them. As it is the case with hunting, in the most situations a sawed-off shotgun is the worst choice to solve high demanding problems.
Also, we designed proprietary processors and further integrated cir- cuits, like e.g. our Intelligent Complementary Metal Oxide Semicond- uctor (ICMOS), as part and extensions of this multicore architecture to unleash the whole potential of computing systems based on it, like our pioneering AutoBrain for example. But we have not stopped here and worked on the whole hardware stack as well, that led to a bunch of also new, fascinating, and game changing solutions exclus- ively available from our OntoLab.
Furthermore, because hardware is nothing without software and their power is nothing without control, GPU based high-performance computing systems are not the first choice anymore at this specific point, definitely.
Moreover, we have finished the design of a relatively new multicore architecture with outstanding properties and performances for stat- ionary and mobile applications.
Besides this, we already announce today that we will present our new, unique, and superior CPU and GPU architectures in the next future.
At the request of our customers, we can deliver our worldwide uni- que very high-performance computing systems in 3 to 6 months for testing and in many cases for using in the field.
Our solutions are mandatory for establishing leadership in all eco- nomical areas, because no other chip maker does have competitive technologies, tools, and applications.
We love our game changers and are open for businesses with every entity that respects and licenses our copyrighted and otherwise protected intellectual properties.
Style of Speed Further steps
As we said, we will do it much harder. Remembered this, we are very pleased to present the first sketches of the side of our new con- version called SuperElemento of the model Huracán by the marque Volkswagen→Audi→Lamborghini based on the design language by the factory.

© Lamborghini, :I, and Style of Speed
Again, the concept is what really matters and not the quality of the very dirty doodles. By the way: The design be changed completely, but together with the SuperVeloce SuperElemento concept present- ed yesterday most of the basic elements are already given now, like the front and the rear wing.
14.January.2014
Ontonics Further steps
We have designed some new variants of our Loudspeaker 2.0 and our new Intercom 2.0 for buildings of all kinds, that make them even better and more beneficial by far than other available solutions. Truly amazing
*** copy mode ***
Ontonics Website update
We created a new project with our:
Intercom 2.0.
The Intercom 2.0 is a modern interpretation of a communication and control system for buildings of all kinds.
Unser Intercom 2.0 ist eine moderne Interpretation eines Kommu- nikations- und Regelungssystems für Gebäude aller Art.
Ontologics.info, OntoLix and OntoLinux Further steps
Today, we would like to give some impressions to our readers and fans where we were with our mapping service and Geographic In- formation System (GIS) already around the year 2006 by showing some old screenshots of GISs and applications partly based on them from the year 2010 and 2011 or perhaps even from before these dates, which were developed by the open source community.








©© SA 2.0, SA 4.0, GPLv2, GPLv3, LGPL, GNU FDL 1.2
The German Police is already fired up for this, like other govermental institutions worldwide, because our corporation delivers trusted products and services to fulfill the requirements of modern societies, like data ownership, security, and privacy.
15.January.2014
Comment of the Day
Open Ad Alliance
Ontologics.info Further steps
Following up our related considerations that we already mentioned some months ago, we are thinking again about the foundation of the Open Advertisement Alliance or simply Open Ad Alliance (see also the related Further steps of the 3rd of October 2013).
19.January.2014
OntoLix and OntoLinux Further steps
We are thinking about a fork of the KDE Software Compilation (KDE SC), because it is infiltrated by at least three destructive trends.
Style of Speed Further steps
Today, we would like to show an interesting interior concept of our Huracan SuperElemento. As we promised, we will do it harder.
21.January.2014
Ontonics Further steps
We developed the new generation of an older type of multimedia device further with six optimizations.
intelliTablet Further steps
Today, we would like to present a further basic design of our 3D tablet computer iTablet 3D with our Multi-Layer/stacked Display 2.0 respectively Hybrid Multi-Layer/stacked Display (HMLD), which is applicable with mobile/cell phones and stationary devices as well. Conceptually, the device can work with one front camera, but using more 2D or/and 3D cameras results in a higher precision of the user tracking and hence in a more realistic spatial effect, the advantage that the display works even if one or more cameras are covered by a hand or an arm, and the option to use the device together with a second person simultaneously from the same side or from different positions, if for example the device is lying on a surface.
See also the Further steps of the 17th of August 2012 with a design concept of another iTablet 3D, which features the autostereoscopic volumetric Multi-Layer/stacked Display (MLD) or the Very High Resol- ution Display (VHRD).

© Apple, Lego, and intelliTablet
intelliTablet - Your windows to the world
22.January.2014
Ontonics Further steps
We developed a further integrated device.
We also developed an older subcomponent further, which has outstanding features now. Then we used this new sub-component for the further development of a component respectively device.
Ontoscope Further steps
We would like to present further basic designs of our Ontoscope 3D with our Multi-Layer/stacked Display 2.0 respectively Hybrid Multi-Layer/stacked Display (HMLD).

© :(, Apple, Walt Disney, Johnny Plaid, and Ontoscope
25.January.2014
Ontonics Further steps
With the further development of the new generation of an older type of multimedia device we could solve a problem that arose with the optimizations done on the 22nd of January 2014 and resulted in a new variant but also in the next generation already. The solutions are amazingly simple and hence raise the question why nobody else found them out on the one hand and on the other hand will surprise the experts, the investors, as well as the competitors.
Furthermore, we added an additional optimizing feature to all three basic variants.
We also developed a different variant of an older multimedia device, which seems to work better in practice and might make the older variant obsolete.
27.January.2014
Comment of the Day
"Luckily, we are the good ones."
And the originals.
OntoLix and OntoLinux Further steps
We would like to announce a further special implementation of our pioneering Ontologic System Architecture (OSA). Details will be publicated after two basic technologies are running prototypically.
Investigations::Culture
We made a note about the National Academy of Recording Arts and Sciences on our webpage Culture.
28.January.2014
Comments of the Day
Web is Changing
Web of Change
Picture of the Day
Josef Friedrich Schmidt "Mensch ärgere Dich nicht==Do not get annoyed, man" (1907/1908)

© Kurt Eugen Schwalb
Alea iacta est
Ontologics.info, OntoLix and OntoLinux Further steps
Until the last months it was not clear how the Web 4.0 will really look like, but now the first basic contours can be seen in the fog, so that we would like to sketch already the common denominator agreed by the community:
free access,
decentralized Peer-To-Peer (P2P) architecture,
scales with the demand of the next generation internet in total contrast to centralized structures,
no central control instance, but only user control in a true democratic way,
strong encryption everywhere,
absolute anonymisation if wanted or needed by a user,
no datakraken,
open ecosystem, so that peer or/and content owners decide what is transported, published, or/and advertised, and if and what they earn for doing so, but not simple and by the P2P architecture obsol- ete copyright infringing data aggregators for example,
no monopolists, but only user control,
already many basic services online, like data sharing, searching, mapping, and so on,
virtually complete distributed index of the public web available already,
already several million peers active even for free, and
...
Web of Change
Big Party by Big Data
We love it, We want it, We do it
We aren't alone
We keep promises
29.January.2014
Clarification
All of our developments for privacy protection, like the ones present- ed today, have nothing in common with the leaks of whistle blowers about activities of secret services. In fact, most of the leaked in- formations are around 12 years old. Moreover, the developments are just only safety measures that we made after we found out that our corporation and C.S.' reputation are in the focus of espionage, trade blockage, and destruction.
Ontonics Website update
We developed an intelligent Architecture (iArchitecture) component that most potentially becomes a common domestic appliance and is called:
Home Security Manager.
The Home Security Manager can be described as a switch on the one hand, but also as a break in alarm system with intelligent WLAN jammer on the other hand.
Der Heimsicherheitsmanager kann auf der einen Seite als ein Schalter und auf der anderen Seite als ein Einbruchsmelder mit intelligentem WLAN-Störsender beschrieben werden.
Also, together with the OntoLab and the business division Roboticle we have developed two new, highly effective, and extremely power- ful components. Because they are the next game changers of us developed for total theater control, we created the first new project that applies them:
Defense Bot/AAKRR 3.0.
The Defense Bot/Advanced Anti Killer Robot Robot (AAKRR) 3.0 features ... game changers.
Top Secret - Only for Customers
Every highly potent entity is qualified, the others will have another giant systemic problem as well as grave damages.
Furthermore, together with the OntoLab and the business division Style of Speed we have developed a new infrastructure for our Hyper Connectivity suite.
Interested, highly potent parties are welcome to collaborate, which only demands to sign related contracts and copyright licenses.
31.January.2014
Comment of the Day
"We do not shoot on the moon, we land on it."
Ontonics Further steps
We developed two new basic components by integrating several related technologies of different fields. One of them is definitely a game changer, while the other one might become important as well.
We also developed four new components with superior qualtities.
OntoLix and OntoLinux Further steps
The high quality app(lication) store available with OntoLix and Onto- Linux is steadily growing and includes several tens of thousands or even more then one hundred thousands of applications already.